LFEF水泥廠立窯玻纖布袋除塵器
?

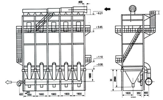
LFEF水泥廠立窯玻纖布袋除塵器該設備由含塵氣體入口至凈化煙氣出口,本體結構由進氣管路、進氣室、袋室、灰斗、排灰閥、出口管道及反吹風系統和清灰控制系統所組成。
LFEF水泥廠立窯玻纖布袋除塵器該產品采用微機控制,分室以吹、定時、定阻清灰,溫度檢測顯示等,使玻纖袋除塵器在除塵中高效、穩定運行,煙囪出口排放濃度低于國家規定的50mg/m3排放標準(實際可保證 30mg/m3)。該設備可不停機分室換袋,操作簡單,安全可靠,運行費用低,可廣泛用于立窯、烘干機、磨機、包裝機、中空窯等各種揚塵點。
除塵器本體為全鋼結構,并設計有防熱膨脹機構措施,外殼采用LBY型輕質巖棉板雙層保溫,外表用#=0.5鍍鋅板防護,并采用抽拉鉚釘新工藝安裝,花板用冷沖壓壓延滾壓成型工藝,即增加強度又保證設備質量。 除塵器采用的是經RH配方處理的耐高溫玻纖袋,其抗折性、耐磨性、強度及熱沖擊性能優良。
含塵煙氣經煙氣經煙道進入進氣管,由上站進入進氣室,部分粗粒由慣性而落入灰斗,其余部分煙氣粉塵進入濾袋,經內表面過濾后,進入袋室,然后經由通風槽、排氣閥、出氣管道由排風機排入大氣,該設備為上部進氣,負壓振作風濾式玻纖袋除塵器。 除塵器進行一段時間后,濾袋內表面捕集的粉塵增厚,除塵器的運行阻力上升,當增加一定值后,這就需要對濾袋進行清灰,即通過外力將濾袋內表面上附著的粉塵清除掉,使除塵器的運行陰力下降,陰力下降下一定值后,該室濾袋又投入正常運行。
立窯煙氣溫度一般在60-300℃ 范圍內波動,煙氣含濕量在4-12%范圍左右,為了防止除塵器的結露和糊袋以及溫度過高發生燒袋等惡性事故的發生,特采取如下措施;
(一)袋除塵器的進氣管道、本體、及灰斗要采取保溫措施,以防止除塵器結露
(二)在除塵器的進氣口、排氣口等處安裝有溫度檢測與自動報警裝置,廢氣一旦超過除塵器的使用溫度范圍,則發出報警自動采取溫控措施,以確保除塵器安全運行。
LFEF水泥廠立窯玻纖布袋除塵器設計技術圖:

以下是設備技術參數:
| 參數規格 | LFEF10×358 | LFEF9×358 | LFEF8×358 | LFEF7×358 | LFEF6×358 | LFEF5×358 | LFEF4×358 |
| 處理風量(m2/h) | 10700 | 96600 | 85000 | 75000 | 64000 | 53000 | 43000 |
| 過濾面積(m2) | 3580 | 3220 | 2864 | 2506 | 2148 | 1790 | 1432 |
| 單元數(室) | 10 | 9 | 8 | 7 | 6 | 5 | 4 |
| 濾條數(條) | 880 | 790 | 704 | 616 | 528 | 440 | 352 |
| 過濾風速(m/min) | <0.5 | <0.5 | <0.5 | <0.5 | <0.5 | <0.5 | <0.5 |
| 設備阻力(Pa) | <1570 | <1570 | <1570 | <1570 | <1570 | <1570 | <1570 |
| *高處理溫度(℃) | 280 | 280 | 280 | 280 | 280 | 280 | 280 |
| 效率(%) | >99.8 | >99.8 | >99.8 | >99.8 | >99.8 | >99.8 | >99.8 |
| 配用窯型(m) | ф3.2×12 | ф3.2×10 | ф2.9/3.0×10 | ф2.5/2.8×10 | ф2.3×10/8.5 | ф2.2/2.0×8 |







